E-mail: ventas@gidi-chain.com

Reparación de cadena de rodillos de manga

2019-07-10 10:09:01

1 Reparación de media sección de cadena de alargamiento

En general, la transmisión por cadena tiene un dispositivo de tensión, pero algunas máquinas agrícolas no tienen esta estructura. Debido al alargamiento de la cadena, la transmisión funcionará y golpeará, y no funcionará correctamente. Si el desgaste de la cadena no excede el límite, se puede quitar y ajustar un grupo de cadenas a la tensión adecuada, pero esto sucederá en la práctica; Si un grupo de cadenas no es demasiado largo, un grupo de cadenas es demasiado corto. Al reparar, la mitad de las cadenas se pueden modificar y eliminar.

 

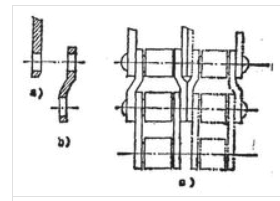
Cuando se vuelve a colocar la cadena del rodillo de la manga de una fila, se enjuagan dos pasadores cilíndricos, se quitan un rodillo, una manga y dos cadenas internas, se tiran dos cadenas externas en la forma de la figura b, y luego se archivan los arcos en los puntos correspondientes de dos cadenas externas adyacentes (figura a) para evitar la fricción después del montaje. Para facilitar la instalación, los rodillos y los manguitos en el sitio de reacondicionamiento pueden cortarse adecuadamente un poco más y luego ensamblarse de acuerdo con la figura C.

图片 1.png

Diagrama esquemático para reparar la sección media de la cadena

Las cadenas de rodillos de doble manga también pueden repararse mediante métodos de modificación similares.

Otra modificación es alargar el eje del pasador cuando la estructura lo permite (como se muestra a continuación). En primer lugar, los pasadores de cadena 1, 2 y 3 se retiran para separar la cadena. Luego, las dos cadenas internas que conectan los rodillos B y C se retiran y se convierten en cuatro almohadillas circulares. Dos se dejan en el lugar original de los rodillos b, y los otros dos se colocan en la posición exterior de los rodillos D. Retire el rodillo C y remache con dos pasadores largos.

图片 2.png

Diagrama esquemático para reparar la sección media de la cadena

Figura: Pines 1, 2, 3; Cadenas internas 4; Cadenas externas 5; 6 - pasadores largos

 

2 Reparación de cadena desgastada

El paso de la cadena aumenta después del desgaste, lo que se debe principalmente al desgaste de los bordes simples del pasador y la manga.

De acuerdo con la condición del equipo, se puede adoptar la reparación por descomposición o sin descomposición.

图片 3.png 

Reparación de descomposición

De acuerdo con el principio de reparación del método de transposición de ajuste, los pasadores y manguitos con desgaste unilateral se giran a 180 grados para que se restablezca el paso normal (fig. C a continuación). Por esta razón, la cadena con desgaste excesivo se descompone por completo, las partes dañadas se eliminan y las partes que se pueden usar se vuelven a montar de acuerdo con los métodos anteriores. Aproximadamente 80% de las partes pueden continuar siendo utilizadas.

 

Desgaste y ajuste de la cadena del rodillo de manga

Se debe usar un equipo especial simple cuando la cadena del rodillo de manga se descompone. La longitud de los aceros de dos canales es 500 mm. La cabeza del tornillo de apriete está soldada en un lado del canal de acero. El espacio del canal de acero se puede ajustar agitando el mango roscado de acuerdo con los diferentes pasos de la cadena, de modo que la cadena se apoye en el canal de acero. La fuerza del resorte en el tornillo siempre empuja el canal de acero para asegurar la apertura del canal de acero.

 4.png 

Equipo de descomposición de cadena de rodillos de manga

Después de cargar la cadena en el equipo, el eje del brazo de la horquilla es golpeado a su vez por el punzón, y luego la cadena interna y la manga son colocadas por el troquel.

Después de que la cadena se descompone, se limpia e identifica cuidadosamente, y las piezas se pueden seleccionar para ensamblar. Al ensamblar, el eje del pasador se sujeta con una prensa, y la cadena se tuerce 180 grados. El manguito instalado en la cadena interna también está torcido 180 grados, de modo que la superficie de desgaste del manguito es opuesta en el lado interno. Para evitar el ajuste flojo entre la cadena interna y la manga, el punzón se usa para apretar el ajuste, y el eje del pasador se remacha con la cadena externa.

 

Reparación sin descomposición

Este es un método de reparación relativamente simple, no necesita descomponer la cadena, sino acortar el paso exterior de la cadena, de modo que el paso completo de la cadena vuelva al estado normal.

 

Al reparar, la cadena se coloca en el accesorio, luego la parte media de la cadena externa se calienta con corriente eléctrica de alta frecuencia para alcanzar el estado plástico, y luego la extrusión y el vuelco de la cadena externa se restauran al tono requerido. Para garantizar el mismo paso de procesamiento, se coloca un localizador entre los rodillos.

 

La parte de la bisagra reparada de la unión de la cadena de la cadena puede girar libremente a mano y el rodillo puede girar libremente en el manguito. Luego se instala en el banco de pruebas y se prueba durante 20 minutos a 350-400 rpm para verificar la operación y eliminar los problemas encontrados. Las cadenas reparadas deben sumergirse en aceite residual a 80-90 C durante 15-20 minutos, de modo que la superficie de fricción interna de las cadenas pueda lubricarse bien. Baja temperatura, poco tiempo el aceite no es

 

Fácil de infiltrar, si el oscilador de alta frecuencia se cambia a 1000-2000 veces por minuto cuando se infiltra, el efecto de infiltración será mejor y el tiempo se puede acortar a solo 2-3 minutos. La cadena después de la inmersión en aceite debe colgarse, gotear aceite limpio y luego usarse o conservarse.

GIDI CHAIN ​​LIMITED suministrar muchos cadena de rodillos, cadena transportadora, Cadena de la hoja, cadena soldada, cadena forjada, Cadena de molino de aceite de palma, Cadena de elevación,Cadena de minas y metalurgia, etc. totalizando sobre variedades 3000. y 90% de las cadenas se exportan a todo el mundo, que exportan principalmente al sudeste de Asia, Europa, América del Norte y América del Sur. Las cadenas son bienvenidas por los clientes con la excelente calidad. Nuestra empresa posee más de 100 conjuntos de equipos de fabricación avanzados y profesionales. El sistema de control de calidad perfecto y riguroso se implementa en todos los procesos, desde la compra de materiales hasta el embalaje de productos terminados. Además, hemos aprobado la certificación ISO9001: 2015 Quality Management System.

Mas detalle : www.gidi-chain.com