Cadena de la máquina de tabaco Está especialmente diseñado para la industria tabacalera. La cadena especial de máquinas de tabaco, desarrollada por nuestra empresa, se puede utilizar para el resecado, el almacenamiento en armarios, la alimentación, etc. Suministramos tabaco de alta calidad. cadenas Debido a la buena comunicación entre nosotros y los diseñadores y usuarios de máquinas de tabaco, lo que nos permite comprender mejor el proceso y el equipo de fabricación del tabaco.


Cadenas laterales de maquinaria de tabaco
| Cadena No. | Paso | La sección interior de diámetro interior | diámetro del rodillo | Profundidad de la placa | Espesor de la placa | Pin | Adjunto: | Resistencia a la tracción | |||
| P | b | d1 | H | T | d2 | F | F1 | F2 | d3 | Q | |
| mm | mm | mm | mm | mm | mm | mm | mm | mm | mm | KN | |
| YJ762-P-K3 | 76.2 | 25.8 | 38.1 | 25 | 4.8 | 11.1 | 44.7 | 35 | 30.0 | 7 | 85 |

| Cadena No. | Paso | La sección interior de diámetro interior | diámetro del rodillo | Profundidad de la placa | Espesor de la placa | Pin | Adjunto: | Resistencia a la tracción | |||
| P | b | D | h1 | h | T | d2 | F | L | d3 | ||
| mm | mm | mm | mm | mm | mm | mm | mm | mm | mm | KN | |
| YJ762-P-M1 | 76.2 | 15 | 10.0 | 32.0 | 25.0 | 4.0 | 9.0 | 44.25 | M8 | 86.7 | |
| YJ80-P-K2 | 80.0 | 14.6 | 30.0 | 14.0 | 20.0 | 3.2 | 7.0 | 36.80 | 22.0 | 7.0 | 30.0 |
| YJ120-F-K3 | 120.0 | 28.0 | 50.0 | 20.0 | 40.0 | 5.0 | 12.0 | 39.0 | 50.0 | 7.0 | 135.0 |

| Cadena No. | Paso | La sección interior de diámetro interior | diámetro del rodillo | Profundidad de la placa | Espesor de la placa | Pin | Adjunto: | Resistencia a la tracción | |||
| P | b | d1 | h1 | h2 | T | d2 | F | L | d3 | Q | |
| mm | mm | mm | mm | mm | mm | mm | mm | mm | mm | KN | |
| YJ50-P-K2 | 50 | 15.0 | 31.0 | 5.5 | 27.0 | 4.0 | 10.5 | 31.0 | 15.0 | 6.5 | 55.0 |
| YJ762-P-M8K1 | 76.2 | 23.0 | 32.0 | 10.0 | 25.0 | 4.0 | 9.0 | 44.25 | - | M8 | 86.7 |
| YJ150-P-K2 | 150.0 | 22.0 | 40.0 | 7.8 | 30.0 | 4.8 | 11.0 | 45.8 | 32.0 | 10.5 | 124.6 |
| YJ152-P-K2 | 152 | 18.0 | 47.5 | 7.8 | 40.0 | 4.8 | 11.1 | 43.8 | 32.0 | 10.5 | 124.6 |

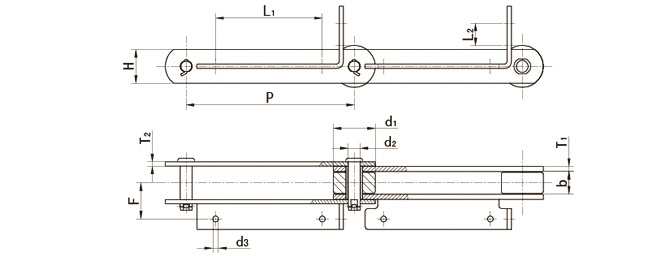
| Cadena No. P | Paso | diámetro del rodillo | Profundidad de la placa | Espesor de la placa de la cadena interna | Espesor externo de la placa de la cadena | Pin | Dimensiones de accesorios | Resistencia a la tracción | |||
| b | d1 | H | T1 | T2 | d2 | F | L1 | L2 | d3 | ||
| Q | |||||||||||
| 200 | 200 | 50 | 40 | 6 | 5 | 14.27 | 43 | 127 | 27 | 7 | 100 |